本次的DEMO开放时间为6月16日-6月22日,大家可以免费下载试玩,正式版将于今年秋天发售。

关于沙石镇的测评、背景介绍和内核精神内容将在游戏发售后发布,这里我们直接切入DEMO攻略,本次试玩时长大约在两小时至四小时范围内,从“初到沙石镇”至“修补火车窗”共计七个主线任务。
前期七个主线任务里有四个任务是与游历沙石镇了解当地情况有关,剩下三个任务“初来乍到”、“紧急吊车订单”和“修补火车窗”是制作为主,即便是波西亚时光的老玩家回归后第一次接触沙石镇较大型订单时都会显得手忙脚乱。
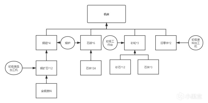
因此翼骑整理了以下流程供大家参考,流程图中会标注出需要的材料数量和制作工具,流程图之后会讲解材料获取来源。
【一】材料合成流程
(1)初级废品加工机的合成
(2)熔炉
(3)机床
(4)升降吊机
(5)窗户
那么以下就是目前游戏DEMO主线中需要的物品。
游戏中的木头多来源于废料堆(四处沙石的地方就别想着砍树了),石头可以通过废料堆收集、获取多用镐后可以敲砂石堆同时获取砂石和石头,用多用稿开采砂石矿堆时有几率掉落石英,植物纤维通过触碰风滚草和伐木均能获得。
需要矿石原料、矿石废料要前往废弃遗迹挖掘或者在回收公司处进行购买,旧零件轴承可以在遗迹挖掘也有可能在用废料加工机回收废料时掉落。非常值得一提是游戏中水资源非常重要,协会售水处出售的水资源前期并不算便宜,所以翼骑推荐大家通过踢树和采石的方式获取露水、将其合成为水源。
除此之外制作物件中比如粗绳子就没有图纸,玩家需要前往工会商店进行购买图纸。(真黑啊)或者将遗迹中开发出的光盘提交给博物馆进行研究(和前作一样)
那么大家粗略计算任务需要材料的量之后就能极大程度地节省时间提高效率。至于技能点系统由于DEMO部分未曾完全开放,故留在游戏正式发售后进行系统讲解。
【二】宝箱和彩蛋
故事设定于天灾330年后沙石镇坐落于沙漠西部边缘的马特尔湖绿洲,同时还需要防备杜沃斯帝国、沙匪洛根和蜥客等的外在威胁,沙石镇时光和波西亚时光都隶属于同一个世界观下的休闲(爆肝)游戏。和沙石镇相比于前作波西亚镇条件相对而言相当艰苦,玩家需要克服漫天的沙尘暴还是水资源的匮乏,米安达成约定三年时间再铸沙石镇的繁华光景,而玩家就此接手为沙石镇劳苦多年而退休的梅森的工坊(好家伙,梅森你就跑路去波西亚养老去了唉)
制作组为了降低玩家前期的难度系数在城市里放置了多个宝箱(大多数是金币),大家在城镇里闲逛的时候多看看各家各户的屋顶,蓝月亮驿站边的楼上、蓝月亮招牌旁、薇薇制衣店旁的高台、博物馆对面高楼的天台上
根据之前官方已公开的信息,本作有多人模式和手机端模式的开发(官方调侃自己多人模式新建文件夹的片段非常值得一看,以后说不定你们又能在沙石镇遇见沙匪·翼骑)
【三】游玩时尚可避免的小瑕疵
打开储物箱时升级背包格子可能会卡住,建议大家直接打开背包进行升级槽位
回收公司虽然显示的00:00——00:00但还是和大多数商店一样在07:00- 22:00开放(大半夜去敲门是进不去的),进入建筑前请不要多按其他的键,比如翼骑进入商会商店时猛搓键盘就出现了卡死闪退的情况。
有些时候飞翔的禽类会卡住不动,但是问题不大并不影响游戏剧情推进,过段时间刷新就好了
虽然有的位置没有围栏但是玩家依然会遭到空气墙的阻挡(请不要保证搓键盘,否则也容易卡死),如果是可以进入的地区还是请比较耐心地找一下入口
那么本期关于沙石镇DEMO的攻略到此结束了,希望诸位喜欢,如果对本作感兴趣的话可以在Steam添加愿望清单。
星火燎原,兴趣使然——努力在游戏的史诗画卷上留下属于自己的浓墨重彩。您好,这里是攻略党和杂谈党的天地【翼骑说】#消磨时间的最佳游戏##沙石镇时光Demo#



